Product Summary
                                                  	The 2DI100D-050 is a 2-pack BJT. 
                                                  
Parametrics
2DI100D-050 absolute maximum ratings: (1)VCBO: 600V; (2)VCEO: 600V; (3)VEBO: 7V; (4)IC: 100A; (5)ICP: 200A; (6)IC: 100A; (7)IB: 6A; (8)PC: 620W; (9)PC: 1240W; (10)Tj: 150℃; (11)Tstg: -40 to 125℃; (12)m: 340g; (13)viso: 2500V. 
Features
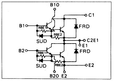
2DI100D-050 features: (1)Including Free Wheeling Diode; (2)Excellent safe operating area; (3)Insulated type.
Diagrams

|  |  2DI150M-120 |  Other |  |  Data Sheet |  Negotiable |  | ||||
 (China (Mainland))
 (China (Mainland)) 
                         
                        
 
                                    




