Product Summary
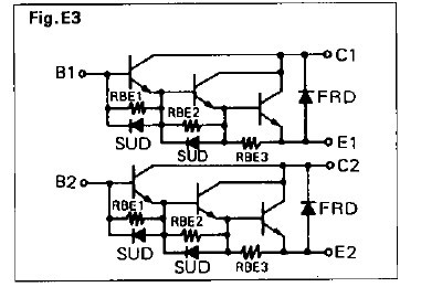
The 2DI150MA-050 is a power transistor module.
Parametrics
2DI150MA-050 absolute maximum ratings: (1)VCBO: 600V; (2)VCEO: 600V; (3)VEBO: 10V; (4)IC: 150A; (5)ICP: 300A; (6)IC: 150A; (7)IB: 9A; (8)PC: 690W; (9)PC: 1380W; (10)Tj: 150℃; (11)Tstg: -40 to 125℃; (12)m: 450g; (13)viso: 2500V.
Features
2DI150MA-050 features: (1)Including Free Wheeling Diode; (2)Excellent safe operating area; (3)Insulated type.
Diagrams

![]() |
![]() 2DI150M-120 |
![]() Other |
![]() |
![]() Data Sheet |
![]() Negotiable |
|
||||
(China (Mainland))








